
莱西第二人民医院参与迫害大法弟子(图)
莱西第二人民医院参与迫害大法弟子,对绝食抗议迫害的大法弟子野蛮灌食。

2001年唐山:年轻大法学员被一辆辆军车拉走了
惊闻大陆各地劳教所、看守所、监狱、医院均参与活摘法轮功学员器官的暴行后,我骤然想起2001年我被非法关押在唐山的一段充满阴谋的经历。

我在北京看守所、公安医院等地方被反复抽血化验
我2001年11月份去北京天安门证实法被非法关押到北京西城看守所,我和二十名没报名的坚定的大法弟子绝食抗议非法关押,其间看守所强制给大法弟子抽血化验。

韩国国会议员关注中共非法摘取器官事件
韩国“一国党”对外合作委员长兼“保健福利委员会”干事的朴宰完国会议员于2006年4月28日提起第17439号动议案。

调查线索:北京朝阳医院以每天4例的速度做移植手术
自从中共“活体摘取法轮功学员器官并焚尸灭迹”这一灭绝人性的恶行被曝光之后,法轮大法学会和明慧网于2006年4月4日发起成立“赴中国大陆全面调查法轮功受迫害真相委员会”,并广泛向社会收集调查线索,以下是近日获悉的部份线索。

赵宏利被辽宁省盘锦监狱迫害至生命垂危
辽宁省朝阳市建平县大法弟子赵宏利无辜被非法判刑八年,在辽宁省盘锦监狱三监区惨遭迫害,目前生命垂危。

我被迫害得几次濒临死亡
我因不改变自己的信仰,坚信真善忍而历尽磨难。被江泽民一伙迫害得几次濒临死亡。1999年被非法开除公职,多次被非法关押,原

四川会理县73岁老人刘天厚被非法判刑6年
四川省凉山州会理县73岁的大法弟子刘天厚和另外三名大法弟子,于4月15日在刘天厚家遭会理国保大队杨绍亮等一群邪恶之徒抄家、绑架。

广东南海市何渐升、梁小燕夫妇再遭绑架
广东省南海市西樵镇星记轴承店的何渐升、梁小燕夫妇因为修炼法轮功,于2006年4月30日晚上被不法公安再次绑架,至今下落不明,小女儿无人照顾。

湖北省沙洋劳教所的迫害手段
很多曾被非法关押进沙洋劳动教养所的大法弟子写了揭露文章,使世人了解了这个劳教所的邪恶。

台湾教师:我的生命奇迹般的得到了延续
亲爱的家长:您好,因时间匆促且临时决定的关系,我请假不在的这几天是到医院做详细且多项的身体检查,代课的李老师是一位教学多年且经验丰富的老师,您可以放心,若有任何问题可与李老师联系或写于联络簿上,谢谢您!您可能不知道,在四年前,我经历了人生中的重要关键时刻。

“法轮大法就是好”
我是从1996年开始修炼大法的,当时我的身体很多地方不好,有人介绍说某家属院内有义务教授法轮功的,我抱着试试看的心理就去了。

威虎山高速公路历险记
2006年3月,我和家人开车遇到一次危险的经历,让人惊心动魄,但却有惊无险。

放下人的观念 正念闯出魔窟
2005年3月我给一个妇女讲真相被她举报,遭到市610恶警李某带人绑架,被非法劳教三年。

在众人面前讲真相的经历
九五年我喜得大法,我被从疾病缠身和压抑厌世的痛苦中解脱出来,身心受益,发生了很大变化。

是师父的慈悲呵护,我才走过了风风雨雨
我是95年12月份得法的老弟子,在我修炼的这条路上总是觉的跟不上趟儿,是伟大的师父慈悲看护,我才没被落下。

另外空间的传单
一位老年同修讲:有次她出去张贴真相资料,那张资料的版面较宽大,同时又因为带有怕心,慌慌张张的将双面胶揭下,匆匆的张贴在墙上,可是资料的一边却皱巴巴的,揭下从新粘贴,就会破损,已不可能重贴。

体验正念之场
我在发真相材料时,每发一份我就对读者默诵一句“法轮大法好!”,感觉效果很好。

我的一点排版经验
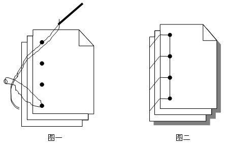
骑马订是最简单的装订方法,装订厚度是侧面装订的一半,页边距也比侧面装订小。

如何装订厚的资料(图)
对于较厚的资料,如书籍,如果骑马钉不能钉穿,则可以直接用线缝。

明慧周刊(2025年7月18日)
海外学员正法修炼活动简报
中国大陆学员近期遭迫害案例选登
本质上的改变才能破除邪恶
坏事变成好事
明慧周报大陆版(2025年7月18日)
在英议会举办法轮功研讨会 聚焦中共的跨国镇压
毒瘾偷车少年是如何弃恶从善的?
多伦多反迫害集会 揭露中共迫害罪行
牟永霞是被黑龙江女子监狱活活折磨死的
真相(2025年7月3日)
聚焦| 韩电影节隆重开幕 纪录片《国有器官》震撼全场
广角| 澳洲议员:法轮大法团体是澳洲楷模
世道| 五月份获知79名法轮功学员被非法判刑
明慧周报海外版(2025年7月15日)
政要专家吁G7制止中共活摘罪行
瑞典游客支持法轮功 谴中共迫害
费城工程师:不治之症康复了
天地苍生(2025年5月1日)
探寻传统、艺术、美德和智慧。在纷繁的乱世中,为您创造静心一刻。
天赐洪福(2025年6月20日)
卷首一文| 平安健康的金钥匙
读后感| 一封信改变了她的命运
吉星高照| 疫苗后遗症消失了!
金种子(2025年7月19日)
四季时节|清静养心 安度酷暑
读后感|“保持善念会减少苦难”
乡里乡亲|摆脱疫苗后遗症 小伙子重获活力
慧声(2025年6月1日)
卷首语
神奇的大自然|在最长的白天里,认识夏至
慧思考|我拍过真的火,也看过假的火
成长故事|我有一只大眼睛!
慧知天下|升起一面旗,表达一个心愿
祝你平安(2025年7月16日)
为唤回正义 舞狮十二年
9 岁小朋友在炼功
幸遇“唐僧” 开启幸福人生
慧闻图说(2024年9月6日)
故事一、当年停学的孩子考上国外名校
故事二、高龄孕妇产下宝宝 还拿掉了瘤子
明慧国际(2025年6月1日)
旨在帮助世人了解法轮功真相,明白为什么无论自己的职业和兴趣是什么,法轮功真相都和自己息息相关。
明慧年历2026年海外版(2025年6月30日)
大法弟子齐心合力精心出品;传递真相,传递善良。
海外版,正体中文,13x21英寸,全彩,骑马订。
































































